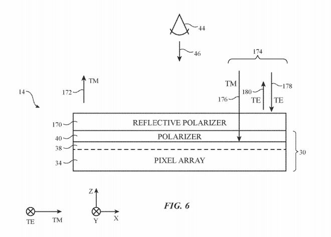
周四的時候,美國專利商標局公布了一份名為《帶有可調節反射顯示屏的電子設備》的專利,其描述了為顯示組件添加額外一層的方法。 額外層位于像素陣列之上,用于產生用戶所看到的圖像。這個層可以由線性和發射偏振器組成,液晶層用于管理極化的程度,還有一種同時使用液晶和二向色性染料分子的可切換偏振器。

從理論上來說,這一層會是可控的,在允許光通過像素陣列和抵達用戶一極之間切換 —— 即在反射環境光的同時,防止有光線穿透。
簡而言之,這種面板可以在顯示屏幕和類似鏡子的狀態間切換。 由文件可知,這一層可以控制屏幕的某些部分正常顯示圖像和其它內容,同時讓其它區域保持反射。
如果其它部分需要可被用戶看到的內容,整體或局部的“鏡面狀態”可以自由變換。
文件中還提到了用戶如何與這類顯示裝置交互,比如借助內置攝像頭和其它傳感器,實現頭部追蹤、眨眼追蹤、面部識別、以及手勢。
舉個例子,用戶追蹤用戶的注視狀態,它可以檢測用戶是否在指定的時間內查看了通知圖標,然后在屏幕上觸發顯示其它內容。
下面這個簡單的流程圖,描述了如何根據檢測到的輸入來進行操作,比如顯示新聞、通知、或更多的圖標,以提供進一步的交互。

在蘋果當前的產品線并未涉及可控反射的部分,但從外觀美感上來看,這種創意還是值得考慮的。比如在黑屏狀態下,讓 iPhone 的屏幕變成一面鏡子。
在蘋果當前的生態圈之外,這項技術也可用于生產一套智能鏡子系統,比如商業用途的信息亭和產品展示。
遺憾的是,迄今為止,我們還沒有見到有類似的產品能夠真正起飛。