韓博士裝機大師
無需光驅和U盤,無需電腦技術
可一鍵重裝:XP、win7、win8、win10
-
微軟用AI和機器學習來管理Windows 10四月更新進程根據市場機構AdDuplex的跟蹤信息報告顯示,Windows 10 四月更新(1803)的推送進程較之前的大型迭代更新版本都更順滑, AdDuplex的數據顯示目前已經有超過50%的Windows
更新時間:2018-06-19 作者:韓博士 -
馳為HiGame迷你PC現可預訂馳為(Chuwi)為自家 HiGame 迷你 PC 發起了 Indiegogo 眾籌,這臺迷你工作站主要面向注重機身空間的游戲玩家和創作者,大小僅為 17.3×15.8×7.3 CM 。 買家有兩個版
更新時間:2018-06-19 作者:韓博士 -
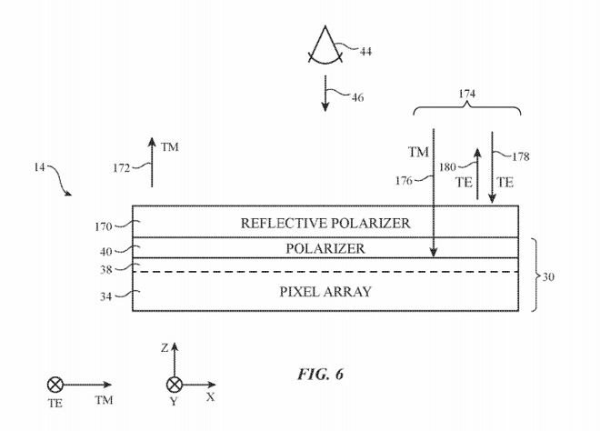
未來Mac/iPad屏幕或可作為智能鏡子使用周四的時候,美國專利商標局公布了一份名為《帶有可調節反射顯示屏的電子設備》的專利,其描述了為顯示組件添加額外一層的方法。 額外層位于像素陣列之上,用于產生用戶所看到的圖像。這個層可以由線性和發射偏振器
更新時間:2018-06-19 作者:韓博士 -
2.5億設備借助AI技術已升級至最新Win10系統與其它科技巨頭一樣, 微軟 希望所有人都知道,該公司正全力投資人工智能領域。這方面的最新例子是微軟今天公布的一條消息——“利用大規模人工智能,大幅提高了Windows 10的2018年4月10日更新版
更新時間:2018-06-19 作者:韓博士 -
Win10四月更新正式版安裝量已突破2.5億目前,Windows 10已經迭代到第六個正式版和第五次功能更新,即v1803或者說是Windows 10 April 2018 Update(2018四月更新),版本號Build 17134。微軟今
更新時間:2018-06-19 作者:韓博士
熱文內容
- 韓博士裝機大師一鍵重裝win10系統 2019-06-18
- 重裝系統win10詳細步驟和方法 2020-12-21
- 怎么用U盤一鍵重裝win7系統 2020-12-15
- win10系統如何一鍵重裝 2020-12-15
- u盤怎么重裝win7系統 2020-12-24
- 如何自己給組裝的電腦重裝win7操作系統 2020-12-31
- win10設置里沒有安全中心,win10設置里找不到安全中心如何解決 2022-06-06
- 臺式機能一鍵重裝win10系統嗎 2020-12-17
- win10顯示激活windows的水印怎么取消,win10去除激活水印方法 2022-05-08
- 想重裝win10系統要怎么操作才好 2020-12-17
最新內容
- u盤邏輯分區損壞怎么辦 2024-03-08
- 科碩移動硬盤無法讀取怎么恢復 2024-03-08
- 金泰克固態硬盤無法格式化 2024-03-08
- win10系統如何關閉GPU共享內存(win10電腦GPU共享內存的關閉方法) 2024-03-08
- win10系統文件夾名稱出現亂碼(win10電腦文件夾名稱亂碼的解決方法) 2024-03-08
- win10系統字體文件夾拒絕訪問(字體文件夾拒絕訪問的解決方法) 2024-03-08
- U盤插上去有響聲但讀不出來 2024-03-07
- sd卡已用空間和可用空間都是0字節 2024-03-07
- u盤變成了fat32讀不出數據了 2024-03-07
- win10系統拔出設備音效如何關閉(win10電腦拔出設備音效的關閉方法) 2024-03-07